ADSL/Cable路由器的應用和普及隨著寬頻上網的普及和價格的下降,越來越多的中小企業和家庭使用ADSL或CableModem來上網。在此情況下,為使企業或家中多臺電腦組成的小型局域網接入互聯網,使用ADSL/Cable路由器是最佳選擇。ADSL/Cable路由器可支持多達二百多個用戶,可配置為DHCP服務器,且可作為您的局域網上唯一能被外部識別的互聯網網關;您還可以通過配置限制內部用戶訪問互聯網,路由器內建的防火墻還可以抵御黑客的入侵。
ADSL/Cable路由器的安裝和使用非常簡單。以ADSL路由器為例,當您申請了ADSL上網后,ISP會為您安裝好ADSLModem,您只需要將ADSLModem的以太網接口連接至ADSL路由器的WAN(廣域網)接口,再將ADSL路由器的LAN(局域網)接口連接到集線器或交換機或直接接電腦即可。下面是ADSL路由器連接示意圖:

既然ADSL/Cable路由器功能強大,使用方便,它的內部構造如何,又是怎樣工作的呢?下面以臺灣產EA-2204型ADSL/Cable路由器為例,給大家詳細介紹,希望大家通過本文,能理解ADSL/Cable路由器的基本知識。
一、EA2204路由器的主要性能特點
EA-2204型ADSL/Cable路由器的主要功能特點如下:
★可連接ADSL/CableModem或以太主干網
★內建4個10/100M交換機端口
只用一個IP地址就能把您的全部電腦連接到國際互聯網
★可通過內部局域網上任何一部電腦用瀏覽器(IE)進行配置
★建立防火墻防止黑客入侵
★可同時作為DHCP服務器和用戶端
★管理人員可控制特定內部用戶訪問互聯網
二、外觀及接口

上圖為EA-2204的前面板,通過面板指示燈,您可以了解路由器目前的連線狀態,下面的表格所示為各指示燈名稱及狀態說明:
指示燈說明
POWER電源指示
WANLink表示廣域網接口正確連接
RxD顯示廣域網接口正在接收
TxD顯示廣域網接口正在發送
SerialData閃爍代表ASYNC接口正在發送或接收
DCDASYNC接口接56KModem或ISDNTA時,該燈亮
1Link表示局域網接口正確連接,該燈閃爍時表示正在接收或發送
2ACT
3100表示10/100Mbps傳輸模式
410
LANFDX表示全雙工模式
燈號COL
下圖所示為EA-2204的背板:

標識說明
LAN10/1001、2、3、4連接到10/100BaseT以太網注:1號接口為Uplink
Uplink/Normal轉換開關。如要直接連接電腦,需將控制開關撥至Normal位置,連接集線器或交換機,需將開關撥到Uplink位置。
Reset復位鍵。注意:當按下該開關3秒種后,路由器中您設定的資料將被刪除。
Serial連接56KModem或ISDNTA
WAN連接ADSLModem或CableModem
5VDC5VDC/2.0A電源插孔,連接市電電源適配器
三、內部結構及電路分析
要想認識ADSL/Cable路由器,我們先來查看路由器內部結構全貌,再詳細了解各塊電路的工作原理。EA-2204的內部構造十分簡單,只有一塊線路板,外觀及主要部件名稱如上圖所示。下面對其分別詳盡解釋,以便您能更好地了解。
1、EA-2204電路框圖
從電路框圖看,外置的AC/DC電源適配器將市電變換成直流,再經過DC穩壓濾波給整個電路提供5V和3.3VDC穩定工作電源。時鐘電路為CPU、RAM和各種控制芯片提供7.372M、20M、25M、50M的工作時鐘信號。EA-2204核心是一顆ARM7處理器,通過系統總線連接FLASH和SDRAM,路由器上電后,CPU從FLASH中讀取程序和配置數據進行初始化,SDRAM為程序運行和數據處理提供臨時存儲空間。CPU復位電路在系統上電或電源異常又恢復時使CPU自動復位,用戶在必要時可通過按后面板上的復位開關來使CPU復位。CPU控制廣域以太網控制芯片,通過一個RJ-45接口或RS232接口,連接國際互聯網來處理數據。一個4端口交換控制器,通過四個RJ-45連接局域網集線器、交換機或連接電腦,直接進行數據交換或通過CPU控制與廣域網連接進行數據處理。

下面對各部分詳細介紹。
2、電源電路

EA-2204路由器采用外置電源適配器連接市電供電。該電源適配器內部采用開關電源,具有AC電壓適應范圍寬、重量輕、輸出電壓穩定、效率高等特點。它適用于世界各地區,可以在市電電壓95V到240V范圍正常工作,提供5V直流穩定輸出。
5V直流經路由器背板電源插座輸入,經過電感濾波,分兩路給整個電路供電。一路直接供給工作電壓為5V的電路,另一路通過集成電路PJ1084進行電壓變換,得到部分電路工作所需要的3.3V電壓。
PJ1084是一種低壓差的線性電壓調整集成電路。其主要參數如下:
電壓輸入:最大12V
輸出電流:最大5A
輸出電壓:通過外部電路可調,固定2.5V或3.3V
輸入輸出電壓差:最大1.3V
穩壓精度:1%
該穩壓集成電路有TO-220和TO-263兩種封裝,TO-220在功耗較大時可加裝散熱片,TO-263是貼片型封裝,因EA2204的電路功耗較小(實測工作電流僅500mA),所以使用的是TO-263封裝,直接貼裝在PCB上即可。
3、復位電路
CPU復位電路分為2部分,一是在系統上電或電源異常又恢復時使CPU自動復位;另一部分是在軟件運行異常出現系統死機的情況下,用戶可通過按后面板上的復位開關來使CPU復位。

復位信號是由一個十分簡單的RC電路、按鈕開關來產生。當系統上電或人為按下復位開關,會產生一個低電平脈沖,該脈沖經過數字門電路整形后使CPU復位,進行初始化。
HC132是一CMOS邏輯門電路,工作電壓2-6V,其輸入/輸出的邏輯關系如下圖表所示:
在路由器電路中,利用門電路的輸入高電平有電壓最小值、輸入低電平有電壓最大值的特點和門電路的整形作用,與周邊二極管和電容、電阻組成上電脈沖產生電路,產生系統復位脈沖信號。
4、時鐘信號
EA-2204電路中,共用了4個晶體振蕩器,分別提供各部分IC工作所需的時鐘信號。
50M―CPU電路S3C4510B01主時鐘25M―交換控制器RTL8305S時鐘
20M―以太網控制器RTL8019AS時鐘
7.372M―異步串口通信芯片TG16C550CJ時鐘
5、CPU
EA-2204路由器的核心是一顆韓國三星電子生產的S3C4510B―16/32位RISC(精簡指令集計算機)微控制器。該微控制器專為以太網通信系統的集線器和路由器而設計,具有低成本和高性能的特點。
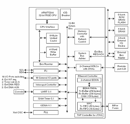
S3C4510B中內置了ARM公司設計的16/32位ARM7TDMI處理器,其內部框圖如下:

由圖可見,S3C4510B提供了8K字節的Cache(高速緩存)和以太控制器,內置2通道的HDLC(高級數據鏈路控制),2個UART(通用異步收發)通道,內置32位定時器和18個通用可編程I/O端口。S3C4510B內部采用32位系統總線,有I2C接口,還集成了中斷控制器、DRAM/SDRAM控制器、ROM/SRAM和閃存控制器。以上功能特點均集成在此單芯片中,作為路由器的核心,可大大減少系統成本。
軟件方面,S3C4510B因內置ARM7TDMI核,可以執行32位的ARM指令,也可執行16位的THUMB指令。
S3C4510B采用3.3V電壓供電,208腳的QFP封裝,操作頻率最高達50MHz。EA-2204中采用50MHz外部頻率,因S3C4510B內部有鎖相環電路可將外部振蕩頻率提升5倍作為內部系統時鐘,所以內部最高頻率實際上已達250MHz!

6、FLASH閃存

S3C4510B使用8/16/32位的外部總線,可支持ROM、SRAM、閃存、DRAM。EA-2204路由器使用EON公司的閃存EN29-F040-70J存儲數據。該芯片在PCB上使用插座安裝,而不是直接焊接到PCB上,是方便生產過程中將程序數據先寫入芯片,再將芯片裝入插座中。該芯片需重寫數據或出現問題,更換起來也容易。
7、SDRAM

S3C4510B支持EDO內存和普通的SDRAM。EA-2204中使用了2顆ESMT公司的M12L16161C―――512K字節、16位、2Banks同步SDRAM。該SDRAM采用3.3V供電,自動自主刷新,刷新周期為32毫秒,接口為LVTTL電平,采用CMOS工藝制程,50TSOP封裝。細心觀察可見該2顆SDRAM上有“-6T”字樣,表示其最高工作頻率可達166MHz。
8、以太網控制器

以太廣域網控制電路通過系統總線連接微控制器,通過RJ45和雙絞線連接廣域網(WAN),該部分電路還提供RS-232串口連接廣域網,電路的核心是以太網控制芯片RTL8019AS和異步通信控制芯片TG16C550CJ。
RTL8019AS中集成了16K字節的SRAM和全雙工以太網控制電路,兼容EthernetII和IEEE802.3、10BASE-T等協議,支持全雙工和即插即用功能。還有一個重要特點是通過連接EEPROM可在線編程,在工廠生產PCBA組裝時,先將空白內容的EEPROM裝到PCB上,在出廠前將工廠設置數據寫入其中,方便了生產。
EA-2204路由器中使用臺灣HOTEK公司的串行EEPROM芯片HT93LC46,其容量為1K,可重復寫10萬次以上,通過芯片時鐘、數據出入/輸出共3根線即可控制其讀寫,用微控制器操作非常方便。
EPM3032ALC44-10是一種電可編程的邏輯電路,內含32單元、600門、34個I/O口。通過PCB上預留的插頭接口,在工廠生產過程中,對該芯片進行編程,使之實現特定的邏輯功能(代替很多通用門電路,節省空間且具有保密作用,如在不同通信狀態下驅動LED顯示等)。
EA-2204路由器還提供了RS-232接口,以方便在ADSL斷線時連接56KModem或ISDNTA上廣域網。RS232串口的通信主要通過異步通信芯片TG16C550CJ和232接口芯片HIN208CB來完成。
TG16C550CJ工作于交替模式(先進先出),將接收的CPU數據進行并行-串行轉換后通過232電平轉換發送至串口MODEM;或將從串口接收的數據進行串行-并行轉換,發送給CPU進行處理。其內置一個可編程的波特率發生器,根據外接晶體振蕩頻率(EA2204中使用的是7.372M)進行分頻得到所需的各種串行通信速率。
HIN208CN的作用是RS232接口電平轉換。因TG16C550CJ異步通信芯片工作電壓為5V,為了提供RS232接口,必須將信號進行電平轉換到12V左右。HIN208CN內含電壓變換電路,通過外接4個0.1微法的電容,可將電壓由單5V變換到雙10V,滿足RS232串口通信的要求。
9、交換控制器
EA-2204路由器提供有4個LAN端口,可連接到10/100BaseT以太網,各端口之間有交換功能。交換控制芯片采用臺灣瑞昱公司最新設計的5端口10/100Mbps高速以太網絡交換器RTL8305S。該芯片集成了5個MAC(媒體存取控制器)、5個實體層收發器、1M位的SRAM和1K個MAC地址記憶區,適合局域網的交換器、廣域網的路由器的應用。
RTL8305S的每一個端口均可支持100Mbps的100BASE-TX高速以太網傳輸或10Mbps的10BASE-T的以太網傳輸。在EA-2204路由器電路中,其第5端口設定為一個MII(獨立媒體接口)來銜接微控制器S3C4510B中的以太網控制器。RTL8305S提供自動協商電路,自動設定是100Mbps或10Mbps、全雙工或半雙工工作和是否進行流量控制。
RTL8305S的一個重要特點是提供了連接(LINK)、激活、沖突、全雙工、10Mbps或100Mbps的指示燈功能。通過LED顯示,使用者很容易判斷網絡的連接狀態。RTL8305S集成度高,耗電小,采用128腳的PQFP封裝,如上圖所示。

下圖為RTL8305S連接局域網的示意圖,圖中所示為一個LAN端口,EA-2204共4個LAN端口。左邊為RTL8305S,中間為隔離變壓器,右邊為RJ45插座,通過雙絞線連接到局域網。
10、10/100BASE-T4端口磁性組件和10BASE-T濾波器
如圖所示,在4個交換端口與交換控制芯片之間,需要接入10/100BASE-T專用隔離變壓器,其型號為LANKom公司的SQ-H44R,該模塊中共有4通道(8路,每通道2路,一路接收,一路發送,每通道對應一個RJ-45端口)。
每路的作用有兩個:一是將路由器和局域網間的直流連接隔離,絕緣電壓可達1500V(有效值);另一個是傳輸信號,傳輸比為1:1。此外,每一路內部均接有互感器以消除共模信號,防止干擾造成信號錯誤。
LF-161C為一通道(2路)10BASE-T濾波器,用于連接ADSL調制解調器至廣域網的端口。除將路由器和Cable/ADSL調制解調器間的直流連接和傳輸信號之外,每一路內部均接有互感器和多級LC濾波電路以消除干擾,防止信號錯誤。
11、LED顯示
EA-2204路由器設有多個LED指示燈,用來指示電路工作狀態。如上圖所示,其LED采用貼片元件,SMT工藝可大大提高生產效率。同時,為了使整機裝配完成后面板上能看到LED發光狀態,采用了靈巧的設計,用透明塑料作成類似光纖傳導體,將光透到機殼外。

12、RJ-45接口及雙絞線
EA-2204路由器的以太網10/100BASE-T接口均使用RJ45連接器。如下圖所示為母端插座,其接線共有8根,編號1-8。
RJ45電纜端接頭為公插頭,下圖所示為實物圖。

標號名稱顏色描述
1TX+白底橙紋發送數據正
2TX-橙色發送數據負
3RX+白底綠紋接收數據正
4N/C藍色未連接
5N/C白底藍紋未連接
6RX-綠色接收數據負
7N/C白底棕紋未連接
8N/C棕色未連接
以上為電纜端8根接線的用途,在HUB端,TX和RX需調換過來。