摘要:本設計主要研究如何由單片機控制GSM模塊實現短信收發。系統設計包括硬件、軟件設計,本設計對系統主要組成部分GSM手機模塊、單片機及它們的外圍電路設計進行闡述,同時簡單介紹系統印制電路板的設計。最后給出系統的軟件設計流程。
0 引言
GSM(Global System for Mobile communication)系統是目前基于時分多址技術的移動通訊體制中比較成熟、完善、應用最廣泛的一種系統。目前已建成的覆蓋全國的GSM數字蜂窩移動通信網,是我國公眾移動通信網的主要方式;贕SM的短信息服務,是一種在移動網絡上傳送簡短信息的無線應用,是一種信息在移動網絡上儲存和轉寄的過程。GSM模塊是繼GSM手機外又一種非常重要的GSM移動通信系統終端設備。它是傳統調制解調器與GSM無線移動通信系統相結合的一種數據終端設備,也稱為GSM Modem。
1 系統原理及系統結構
本系統主要研究如何運用GSM手機模塊在計算機終端實現短信息的收發(即圖l中虛線部分)。設計中采用STC89C52單片機和Siemens公司的GSM模塊TC35實現具有短信收發功能的GSM Modem原型。通過RS232串口將該Modem與PC機相連,并在PC機上開發前臺軟件,實現中英文短信點對點的雙向收發,從而實現與用戶手機或GSM模塊的遠程通信功能。系統設計由兩大部分組成:硬件設計與軟件設計。硬件設計主要研究單片機對GSM模塊控制,及單片機與計算機通信。

圖l 系統工作原理框圖
2 系統硬件[1]
系統硬件部分,該部分包括TC35通信模塊電路、電源電路和單片機系統。TC35通信模塊電路由ICT( Ignition)啟動電路、SYNC( Synchronization)指示燈電路、SIM( Sub-scriber Identification Module)卡電路組成;單片機系統則包括單片機最小系統、單片機與TC35通信電路、單片機與PC機通信電路。系統硬件原理如圖2所示。單片機與TC35模塊通信是通過AT指令。由AT指令可以進行呼叫、短信、電話本、數據業務、補充業務、傳真等方面的控制。單片機通過串行接口直接向TC35模塊發AT命令,能完成多種功能。如網絡登錄讀取SIM卡號碼、發送SMS消息、接收SMS消息等。這樣就可以方便簡潔地實現短消息的收發、查詢和管理。

圖2 系統硬件結構圖

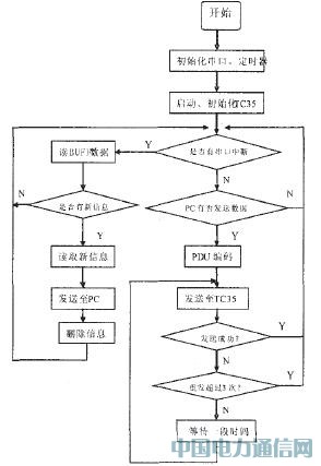
圖3 主程序設計流程圖
3 軟件設計[2]
本系統程序設計,包括PC界面設計及單片機程序設計。儀器儀表用戶此處只介紹單片機程序設計。單片機程序設計主要包括單片機及TC35模塊初始化程序;單片機對TC35模塊的工作控制程序;TC35模塊的短信收發程序。
主程序是對整個系統框架的描述[3]。本系統主程序的功能是上電后,完成系統的初始化,然后等待PC端或TC35模塊端的命令到達,并根據命令的內容完成相應的動作,如發送或接收短信。流程圖如圖3。
系統初始化包括單片機本身及TC35模塊的初始化工作。單片機初始化主要是對串口及定時器寄存器進行設置。本系統中,串口設置為波特率9600Bps,并設置定時器0進行延時,用于產生模擬串口所需的波特率。TC35模塊的初始化,則通過單片機發送AT指令對TC35模塊進行設置。
單片機對TC35的控制也是通過AT指令完成的,并由TC35對指令的響應值來做出相應的動作。對短信的接收方式,單片機采用串口中斷方式,當串口中斷時,便判斷是否為新消息提示,從而進行下一步動作。發送短信息則采用查詢方式,在主程序中對PC端進行循環查詢,對查詢結果執行相應動作。
4 結束語
本系統并沒有局限于特定領域的應用,主要是通過本設計對短信息系統中的通用關鍵技術進行分析研究,掌握此技術后,只需增加單片機外圍電路,便可將其應用于遠程數據采集、監控、報警等特定領域。
參考文獻
[1]程翔.GSM系統中的短消息業務[J].移動通信,2004,(6):7 -10
[2]李輝.基于GSM短消息的無線通信系統[D].南京:南京理工大學,2004
[3]黃惟公,單片機原理與應用技術[M].西安:西安電子科技大學出版社,2007
作者簡介:孫瑩,女,教授,從事電子技術、交換技術教學及單片機應用研究。